劳斯莱斯都眼馋 宾利申请新专利:能让车头立标飞起来

安然网8月6日消息,通常而言,有立标的车都比较尊贵,比如劳斯莱斯、宾利等,那么如何尊贵感更上一层?宾利准备让立标飞起来

经过近百年的演变,如今宾利第六代双飞翼“B”字立标采用不锈钢材质,经手工抛光精雕细作而成,解锁座驾时,立标自动升起的同时羽翼也会按顺序与大灯同时点亮,塑造出满满的仪式感。

劳斯莱斯都眼馋 宾利申请新专利:能让车头立标飞起来

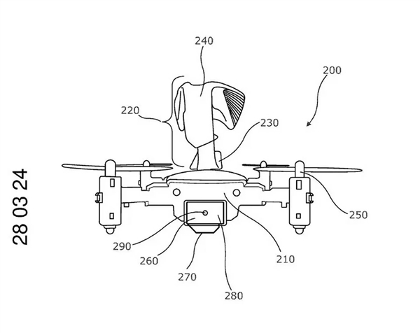
而宾利申请的专利显示,引擎盖下将隐藏着一个无人机,从图上看大概是四旋翼,飞翼立标将布置在无人机上,无人机可以通过车主的手机、平板电脑或电脑操作,也可以通过车辆的信息娱乐系统进行控制。

据AutoGuide报道,宾利已经设想了无人机可以实现的多项功能,例如可以用于在交通中寻找路线,自动发出事故警报,并可能在车主在停车场迷路时引导车主返回车辆,无人机先行寻找停车位

劳斯莱斯都眼馋 宾利申请新专利:能让车头立标飞起来

劳斯莱斯都眼馋 宾利申请新专利:能让车头立标飞起来

不得不说,这样的设计非常具有创意和想象空间,也让立标更具科技感,有了更多的实用价值。

实际上将无人机放到车上已经有不少车企在探索,有些甚至已落地实施,比如仰望U8越野玩家版,车顶行李架可以搭载无人机机库,支持一键起飞和回落,相信未来会有更多类似的创意联动。

【本文结束】如需转载请务必注明出处:安然网

责任编辑:落木

文章内容举报

– THE END –

0
分享海报

评论0

请先
欢迎您光临安然网,如有侵权,请提供相关版权证明发给本站,审核属实后将会立即删除。MAIL:zgs5516@163.com
显示验证码
没有账号?注册  忘记密码?

社交账号快速登录

'); })();