动动手指就能关灯!苹果公布智能戒指专利:手势+语音实现跨设备交互

安然网8月23日消息,苹果公司获得一项新专利,涉及智能戒指设计,该戒指不仅可追踪佩戴者健康数据,还能与苹果生态系统中的其他产品联动。

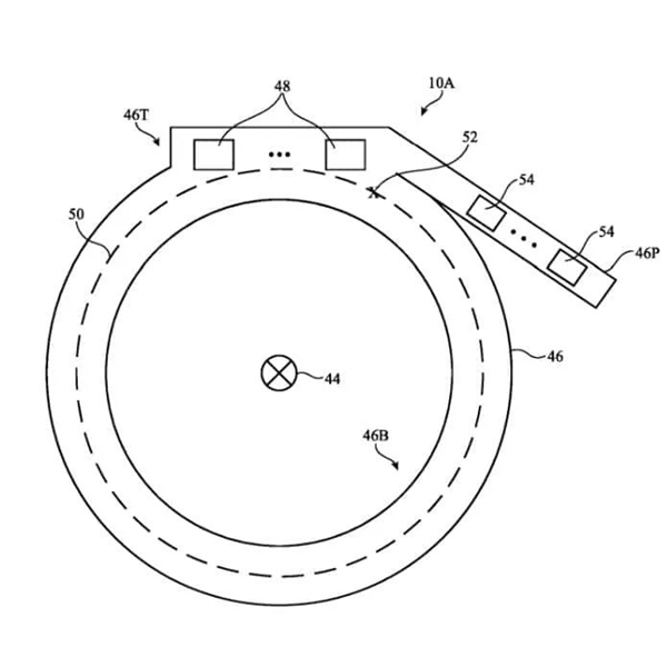
根据美国商标和专利局公示的文件显示,这款智能戒指支持手势、触摸、力输入、语音、指向和注视等多种输入方式,能通过身体部位的特定动作进行交互。

动动手指就能关灯!苹果公布智能戒指专利:手势+语音实现跨设备交互

动动手指就能关灯!苹果公布智能戒指专利:手势+语音实现跨设备交互

戒指内置惯性测量单元和其他传感器,可收集基于身体的动作数据。它还能与NFC设备轻松交互,提供与苹果产品如Vision Pro头显、iPhone、iPad、Apple TV等的无缝连接,并能控制智能家居设备。

动动手指就能关灯!苹果公布智能戒指专利:手势+语音实现跨设备交互

专利中举例,用户可通过指向台灯并发出语音指令来控制灯具开关。

此外,智能戒指还能监测心率、步数、睡眠规律等健康和健身数据,并将这些信息同步至iPhone或MacBook,以便用户更好地了解自己的身体状况。

苹果的这一创新专利展示了其在可穿戴设备领域的持续探索和创新能力,预示着未来跨设备交互的新方向。

动动手指就能关灯!苹果公布智能戒指专利:手势+语音实现跨设备交互

【本文结束】如需转载请务必注明出处:安然网

责任编辑:无痕

文章内容举报

– THE END –

0
分享海报

评论0

请先
欢迎您光临安然网,如有侵权,请提供相关版权证明发给本站,审核属实后将会立即删除。MAIL:zgs5516@163.com
显示验证码
没有账号?注册  忘记密码?

社交账号快速登录

'); })();