安然网9月4日消息,福特汽车公司最近向美国专利商标局提交了一项专利申请,该专利涉及一种车内广告系统,这表明福特正在探索通过在车辆内部展示广告来创造新的收入来源。
这项专利申请于今年2月提交,并在8月29日公开。

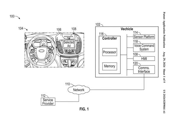
根据专利文件,福特的车内广告系统将利用车辆的目的地、行驶路线、速度以及用户的偏好等数据,来在车内显示屏上展示个性化广告。
例如,如果系统预测到用户即将前往超市,它可能会在车内屏幕上展示与购物相关的商品广告。
福特在申请文件中强调,该系统将通过车内的控制器收集来自传感器和外部数据源的信息,并根据驾驶条件及用户偏好调整广告内容和展示频率,以确保广告的相关性并最小化对驾驶者的干扰。
值得注意的是,这是福特近年来申请的第三个与车内广告相关的专利。
此前,福特还申请了一项专利,该专利描述了一种使用车载摄像头来识别路边广告牌,并将部分广告内容安全地展示在车窗上系统。

– THE END –

评论0