折叠iPhone要来了!苹果新专利曝光:任意表面实现触敏控制

安然网9月20日消息,美国商标和专利局(USPTO)最新公示的清单显示,苹果公司获得了一项新的专利,构想了未来iPhone的设计方案,包括固态按钮在内在所有表面实现触敏控制。

折叠iPhone要来了!苹果新专利曝光:任意表面实现触敏控制

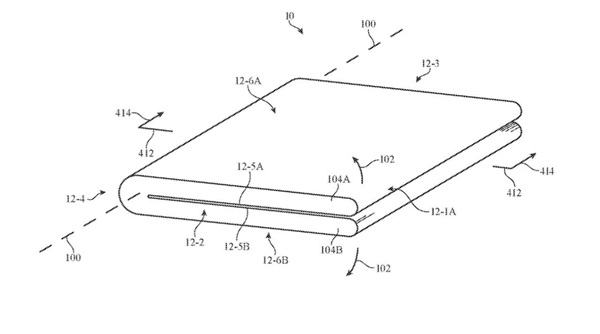
该专利名为《带有显示屏和触摸传感器结构的电子设备》,其专利的设计草图为折叠式设计。

苹果表示,从用户那里收集触摸输入并高效地向用户展示图像可能面临挑战。

例如,当用户向触摸屏显示器提供触摸输入时,用户的手可能会遮挡显示器上正在显示的图像。

折叠iPhone要来了!苹果新专利曝光:任意表面实现触敏控制

为解决这一问题,苹果公司构想了在设备所有表面实现触敏控制的设计。

据悉,苹果计划在设备所有表面内置控制电路、电池及其他组件,设备表面可以包含不透明部分与透明部分,并考虑采用不透明塑料、金属、纤维复合材料以及含有纤维、陶瓷和其他不透明材料的多层结构。

折叠iPhone要来了!苹果新专利曝光:任意表面实现触敏控制

值得注意的是,苹果计划通过在设备表面铺设细小的金属线(例如纳米结构)来实现任意表面的触敏控制。

苹果在专利中提供了一些例子,说明这种触控功能在实际应用中的可能用途。

例如在游戏应用及其他应用中,用户可以在设备的背面使用触摸传感器,同时在设备的正面显示屏上显示相关视觉信息,从而实现更丰富的交互体验。

【本文结束】如需转载请务必注明出处:安然网

责任编辑:文祥

文章内容举报

– THE END –

0
分享海报

评论0

请先
欢迎您光临安然网,如有侵权,请提供相关版权证明发给本站,审核属实后将会立即删除。MAIL:zgs5516@163.com
显示验证码
没有账号?注册  忘记密码?

社交账号快速登录

'); })();