张雪峰怒斥不让抢注商标的坏人得逞 其商标曾被多方抢注

安然网10月21日消息,今天下午,张雪峰发微博称:“我宁可成为中国知识产权界的一个标志性的反面案例,我也不会让抢注商标的坏人得逞,拿到一分钱!除非你承诺,把这个钱捐出去!

随后,张雪峰在微博评论区表示:“有抢注商标的人,抢注我的商标,找律师开价100万,让我买!”

张雪峰怒斥不让抢注商标的坏人得逞 其商标曾被多方抢注

企查查APP显示,张子彪(张雪峰)名下的苏州研途教育科技有限公司曾于2017年申请注册多枚“张雪峰”商标,国际分类涉及广告销售、教育娱乐等,当前商标状态均为已注册。

该公司还申请注册了两枚“研途张雪峰”商标,当前商标均处于无效状态。

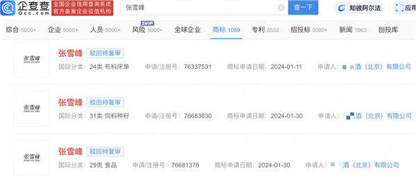
此外,自然人张某某和北京某酒公司等曾申请注册“张雪峰”商标,国际分类涉及餐饮住宿、食品等,除自然人张某某申请的“张雪峰”商标已成功注册,其余申请多已被驳回。

张雪峰怒斥不让抢注商标的坏人得逞 其商标曾被多方抢注

张雪峰怒斥不让抢注商标的坏人得逞 其商标曾被多方抢注

张雪峰怒斥不让抢注商标的坏人得逞 其商标曾被多方抢注

【本文结束】如需转载请务必注明出处:安然网

责任编辑:随心

文章内容举报

– THE END –

0
分享海报

评论0

请先
欢迎您光临安然网,如有侵权,请提供相关版权证明发给本站,审核属实后将会立即删除。MAIL:zgs5516@163.com
显示验证码
没有账号?注册  忘记密码?

社交账号快速登录

'); })();