非第六界 内部人士回应华为近300人已入驻阿维塔:与鸿蒙智行无关

安然网2月24日消息,原本确认只有四界的鸿蒙智行因某些外部原因扩充到五界,着实出乎了很多人的意料,而近日,又有媒体报道称“第六界”可能也要来了。

非第六界 内部人士回应华为近300人已入驻阿维塔:与鸿蒙智行无关

报道称,华为已派了一支近300人的团队入驻阿维塔科技位于重庆的总部,并拥有一层办公楼办公使用,双方正在就第二代产品的产品定义、用户洞察、营销策略等开启联合共创。

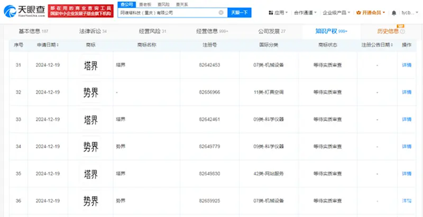
此外,根据公开资料显示,阿维塔科技已完成了“塔界”的商标注册,这不由得引起遐想,那么真如传闻那般,鸿蒙智行的成员又要扩大了吗?

非第六界 内部人士回应华为近300人已入驻阿维塔:与鸿蒙智行无关

实际上并非如此,就在今日,华为内部鸿蒙智行相关负责人公开发布微博称:

针对近期网络上关于“华为近300人团队入驻阿维塔”、“阿维塔科技已完成了塔界商标注册”、“可能成为鸿蒙智行又一界合作品牌”等传闻,所谓阿维塔注册“塔界”,与鸿蒙智行无关。 ​​​

非第六界 内部人士回应华为近300人已入驻阿维塔:与鸿蒙智行无关

随着鸿蒙智行的爆火,不少车企都试图拿到一张门票,跻身其中成为新成员。

然而正如余承东此前所言,团队精力有限,目前兼顾四界几乎达到极限,而上汽成为第五界背后的原因复杂,既然已成为定局,那么只得接受,但毫无疑问会带来更多的压力,短时间内肯定不会再吸纳新成员入“界”。

非第六界 内部人士回应华为近300人已入驻阿维塔:与鸿蒙智行无关

值得一提的是,有些车企为了蹭热度,也会主动取个“X界”的名字,比如东风神龙新能源近日就发布了全新的“示界”品牌,相信还会有更多类似的情况出现。

非第六界 内部人士回应华为近300人已入驻阿维塔:与鸿蒙智行无关

【本文结束】如需转载请务必注明出处:安然网

责任编辑:落木

文章内容举报

– THE END –

0
分享海报

评论0

请先
欢迎您光临安然网,如有侵权,请提供相关版权证明发给本站,审核属实后将会立即删除。MAIL:zgs5516@163.com
显示验证码
没有账号?注册  忘记密码?

社交账号快速登录

'); })();