苹果还有隐藏大招!可折叠iPad暂时搁置:卷轴式iPad曝光

安然网7月7日消息,近期有消息称苹果可折叠iPad项目已被无限期搁置,但苹果似乎并未放弃对屏幕显示技术的探索与创新。

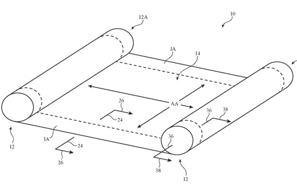
最新曝光的一项专利文件显示,苹果正在悄悄推进一种全新的未来方向——卷轴式iPad。

据报道,苹果的这项专利描述了一种可以将屏幕“卷起来收纳”的装置设计,该设备展开时可呈现大屏幕视觉效果,而携带时则可缩成一个精巧的外形。

这项专利早在数月前就已申请,但直到最近才引起外界关注。

苹果还有隐藏大招!可折叠iPad暂时搁置:卷轴式iPad曝光

这种卷轴式屏幕与目前主流的折叠屏幕有本质区别,它不依赖铰链折叠,因此理论上可以避免折叠设备常见的折痕问题。

专利中提到,这种技术可能应用于多种设备,包括手机、平板、手表,甚至是具有折叠功能的笔记本电脑。

专利内容显示,苹果为实现这种设计,已经深入研究如何通过精密机构展开与收纳柔性屏幕,同时避免对屏幕造成损害。

不过专利不等于产品上市,虽然折叠iPad遥遥无期,但传闻中的折叠iPhone似乎仍在稳步前进。

苹果还有隐藏大招!可折叠iPad暂时搁置:卷轴式iPad曝光

【本文结束】如需转载请务必注明出处:安然网

文章内容举报

– THE END –

0
分享海报

评论0

请先
欢迎您光临安然网,如有侵权,请提供相关版权证明发给本站,审核属实后将会立即删除。MAIL:zgs5516@163.com
显示验证码
没有账号?注册  忘记密码?

社交账号快速登录

'); })();