OPPO折叠新专利公布:分级悬停能力大增

安然网7月28日消息,根据天眼查数据显示,2025年3月14日,OPPO广东移动通信有限公司公布了一项名为“扭力组件、折叠装置及电子设备”的专利,申请公布号为CN119616991A。

该专利涉及可弯折结构技术领域,通过创新设计提升折叠设备的使用体验和耐用性。

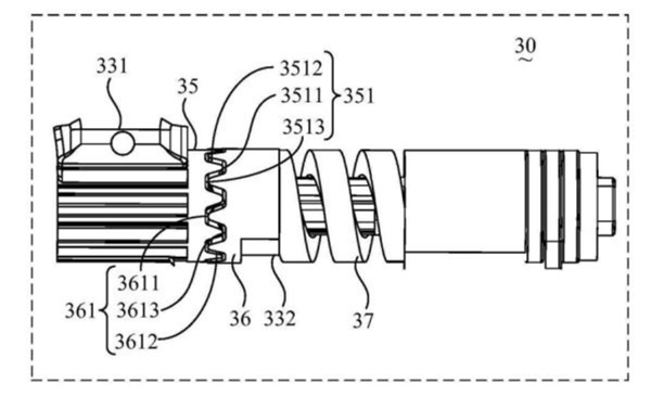
专利显示,该扭力组件包括主动件、被动件、第一啮合件、第二啮合件和复位件。

通过独特的啮合机制,第一啮合件与第二啮合件可在多个啮合位置之间切换,实现分级悬停功能。

这一设计不仅提升了折叠设备的灵活性,还显著降低了部件的磨损率,延长了设备的使用寿命。

分级悬停功能意味着用户可以根据需求将设备停在不同角度,无论是观看视频、进行视频通话还是进行多任务操作,都能获得更便捷的体验。

此外,该专利还通过减少部件的持续磨损,提升了折叠设备的可靠性和耐用性。

OPPO此次公布的专利展示了其在折叠屏技术领域的持续创新和领先地位,为未来折叠设备的发展提供了新的方向。

OPPO折叠新专利公布:分级悬停能力大增

【本文结束】如需转载请务必注明出处:安然网

责任编辑:无痕

文章内容举报

– THE END –

0
分享海报

评论0

请先
欢迎您光临安然网,如有侵权,请提供相关版权证明发给本站,审核属实后将会立即删除。MAIL:zgs5516@163.com
显示验证码
没有账号?注册  忘记密码?

社交账号快速登录

'); })();