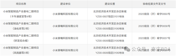
小米汽车二期研发综合楼、卡车调度室等规划验收通过

安然网9月17日消息,据亦庄BDA公众号,近日,小米汽车二期研发综合楼、卡车调度室、油化库等规划验收通过。

值得一提的是,小米汽车二期工厂项目位于北京亦庄新城YZ00-0606街区0106地块,与一期工厂仅隔一条马路。

小米在2024年以8.42亿元人民币拿下该地块,面积为531130平方米,建筑控制规模≤690469平方米,出让总年限为50年。

整个二期工厂项目总建筑面积约40万平方米,涵盖地上39.15万平方米以及地下8503.33平方米。

小米汽车二期研发综合楼、卡车调度室等规划验收通过

【本文结束】如需转载请务必注明出处:安然网

责任编辑:朝晖

文章内容举报

– THE END –

0
分享海报

评论0

请先
欢迎您光临安然网,如有侵权,请提供相关版权证明发给本站,审核属实后将会立即删除。MAIL:zgs5516@163.com
显示验证码
没有账号?注册  忘记密码?

社交账号快速登录

'); })();