知情人透露宗馥莉辞职原因:本人将独立经营娃小宗

安然网10月10日消息,据媒体报道,宗馥莉在“十一”假期前已经辞任娃哈哈集团董事长兼总经理职位,此事已经通过股东会和董事会。

知情人士称,宗馥莉此次辞职是因为商标使用“不合规”,宗馥莉决定经营自己的品牌“娃小宗”。

知情人透露宗馥莉辞职原因:本人将独立经营娃小宗

据了解,宗馥莉1982年出生于浙江杭州,为杭州娃哈哈集团创始人宗庆后之女。2018年4月,宗馥莉担任娃哈哈集团品牌公关部部长,2020年3月起兼任娃哈哈集团销售公司副总经理,2021年担任娃哈哈集团副董事长兼总经理。

2024年8月,娃哈哈集团发生工商变更,宗馥莉接替去世的宗庆后,出任娃哈哈法定代表人、董事长,继续兼任总经理。

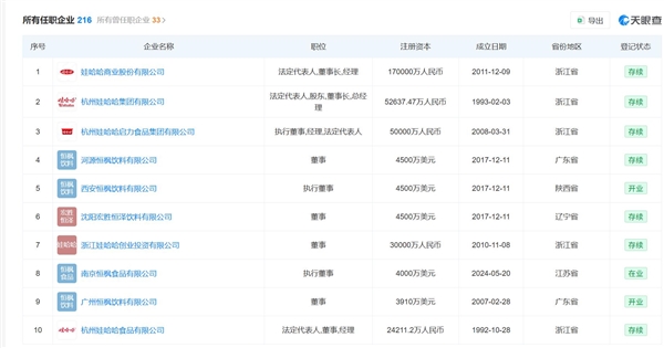
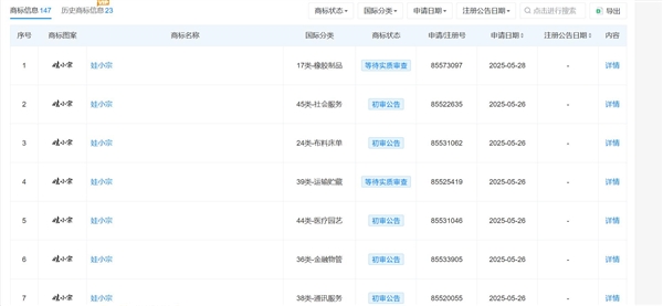
天眼查显示,宗馥莉关联企业超过200家,宗馥莉掌控的宏胜饮料集团有限公司申请了“宗小哈”、“娃小哈”和“娃小宗”等50多个商标,部分商标处于“等待实质审查”的状态,部分则是获得了初审公告。

知情人透露宗馥莉辞职原因:本人将独立经营娃小宗

知情人透露宗馥莉辞职原因:本人将独立经营娃小宗

【本文结束】如需转载请务必注明出处:安然网

责任编辑:振亭

文章内容举报

– THE END –

0
分享海报

评论0

请先
欢迎您光临安然网,如有侵权,请提供相关版权证明发给本站,审核属实后将会立即删除。MAIL:zgs5516@163.com
显示验证码
没有账号?注册  忘记密码?

社交账号快速登录

'); })();